MacBook Airを意識?Xiaomi、薄型ノートPC「Mi Notebook Air」発表……12.5インチで約54,000円
Apple、iPhoneの“エッジディスプレイ”モデルを開発中か? 特許を申請 3枚目の写真・画像
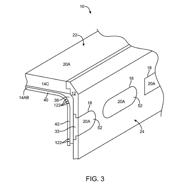
Appleとサムスン。両社の関係は、どちらかと言えばこれまではサムスンがAppleの模倣をしていると評されることが多かったが、今度はAppleが後追いをする番かもしれない。
IT・デジタル
スマートフォン
関連ニュース
編集部おすすめの記事
特集
IT・デジタル アクセスランキング
-
星空も撮影可能な「Google Pixel 4」、そのポイントを改めてチェック
-
【デスクツアー】家中どこでも仕事場に!固定デスクを持たない映像クリエイターのこだわり作業環境
-
リコーの「GR DIGITAL III」をおしゃれに持ち運ぶファブリックケース
-
臨場感たっぷりの“VRスキー体験”から東京最大級の“巨大ガチャガチャ”まで!ミラノ・コルティナ冬季五輪の世界観を体感できるイベントが開催
-
ビル・ゲイツ、過去のTEDでの発言が話題に!「最大の脅威は戦争ではなく疾病のパンデミック」
-
【デスクツアー】クローゼットが“秘密基地”に!「押入れデスク」を快適な作業空間に!!
-
スマホでタッチするだけで解錠も!スマートロック「Akerun」を使ってみた【特集「近未来!スマートロックの世界」Vol.2】
-
【デスクツアー】モニタースタンドに徹底的にこだわり、使い勝手を工夫!カナダ在住クリエイターのデスク
-
【デスクツアー】理想のドローイング用デスクをDIY、米クリエイティブディレクターのホームオフィス
-
【10G回線導入レポ】オプテージ・eo光5G→10G回線に乗り換え!L2スイッチで複数PCの高速通信を実現


