MacBook Airを意識?Xiaomi、薄型ノートPC「Mi Notebook Air」発表……12.5インチで約54,000円
Apple、iPhoneの“エッジディスプレイ”モデルを開発中か? 特許を申請 2枚目の写真・画像
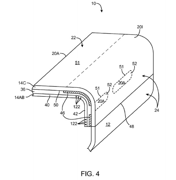
Appleとサムスン。両社の関係は、どちらかと言えばこれまではサムスンがAppleの模倣をしていると評されることが多かったが、今度はAppleが後追いをする番かもしれない。
IT・デジタル
スマートフォン
関連ニュース
編集部おすすめの記事
特集
IT・デジタル アクセスランキング
-
【インタビュー】“顧客満足度No.1受賞” 愛知・刈谷市のCATV局「キャッチネットワーク」、東海地区で躍進のワケ
-
「今年は間違いなくPhysical AI元年になる」三菱電機×燈、産業特化型AIで工場やインフラの現場改革へ
-
【10G回線導入レポ】3つの回線を試してGameWith光10Gへ!ゲームのラグが解消、混雑時間帯も快適に
-
星空も撮影可能な「Google Pixel 4」、そのポイントを改めてチェック
-
【今週のエンジニア女子 Vol.41】人の可能性を広げるサービスに携わる喜び……澤村花織さん
-
【10G回線導入レポ】オプテージ・eo光5G→10G回線に乗り換え!L2スイッチで複数PCの高速通信を実現
-
【10G回線導入レポ】NURO光からBIGLOBE光10ギガへ!割引後月額1,202円でネット環境が安定
-
8,500mAhバッテリー搭載で74,980円!シャオミのコスパ最強スマホ「POCO X8 Pro Max」が発売
-
【10G回線導入レポ】KDDIの1G回線からソフトバンクの10G回線へ乗り換え!4Gbpsオーバーの速度も
-
【検証】「Snapdragon X」搭載PCって、本当に仕事で使えるの?


