MacBook Airを意識?Xiaomi、薄型ノートPC「Mi Notebook Air」発表……12.5インチで約54,000円
Apple、iPhoneの“エッジディスプレイ”モデルを開発中か? 特許を申請 4枚目の写真・画像
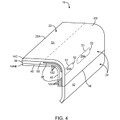
Appleとサムスン。両社の関係は、どちらかと言えばこれまではサムスンがAppleの模倣をしていると評されることが多かったが、今度はAppleが後追いをする番かもしれない。
IT・デジタル
スマートフォン
関連ニュース
編集部おすすめの記事
特集
IT・デジタル アクセスランキング
-
「今年は間違いなくPhysical AI元年になる」三菱電機×燈、産業特化型AIで工場やインフラの現場改革へ
-
【インタビュー】“顧客満足度No.1受賞” 愛知・刈谷市のCATV局「キャッチネットワーク」、東海地区で躍進のワケ
-
【10G回線導入レポ】3つの回線を試してGameWith光10Gへ!ゲームのラグが解消、混雑時間帯も快適に
-
星空も撮影可能な「Google Pixel 4」、そのポイントを改めてチェック
-
【10G回線導入レポ】オプテージ・eo光5G→10G回線に乗り換え!L2スイッチで複数PCの高速通信を実現
-
【正直検証】PDF Elementは企業で使えるか?直接編集、AI機能、OCRを試す
-
【10G回線導入レポ】NURO光からBIGLOBE光10ギガへ!割引後月額1,202円でネット環境が安定
-
8,500mAhバッテリー搭載で74,980円!シャオミのコスパ最強スマホ「POCO X8 Pro Max」が発売
-
KDDIが突出した速さ!2月の10ギガ回線の実測速度ランキングを公開
-
【レビュー】メモから要約まで完結!最強の超薄型AIボイスレコーダー『Plaud Note Pro』


