「三国志パズル大戦」公認プレイヤーと対戦できる!
ソニーがブロック組み立て式のVRコントローラーを開発中? 3枚目の写真・画像
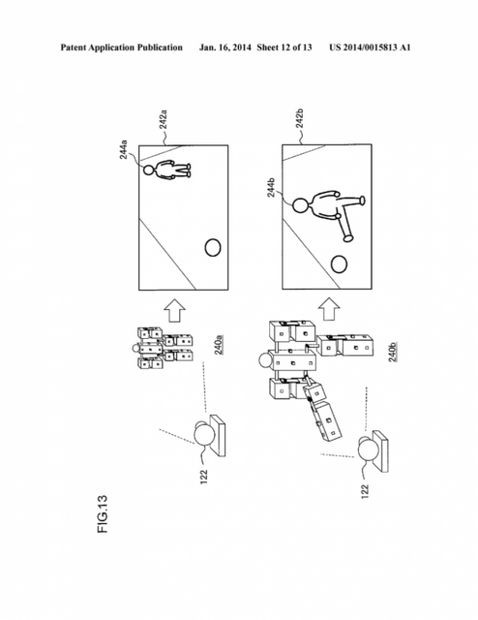
海外のゲームユーザーフォーラム「NeoGAF」にて、ソニーがVR技術を取り込んだ新タイプのコントローラーを開発中との噂が話題になっています。特許として申請されており、画像も数点公開されている模様です。
エンタメ
その他
関連ニュース
編集部おすすめの記事
特集
エンタメ アクセスランキング
-
海外有力メディア、BTS・Vの持つ強烈な経済効果を分析「セリーヌは営業利益が591%増」
-
「違うのなら否定したはず」BTS・JUNG KOOKとaespa・ウィンターの熱愛説、事務所の“沈黙”で真実味増す?
-
日本5大ドームツアー中のTOMORROW X TOGETHER、Billboard JAPAN年間チャート“3作”ランクインの快挙!
-
佐藤健、パク・ボゴム、IVEら集結!授賞式「AAA 2025」が視野制限席まで“全席完売”…約5万5000人が熱狂へ
-
NMB48・和田海佑、10月発売1st写真集から先行カット!バニーガールや黒下着で完璧ボディー公開
-
紅白初出場を控えたaespa・ウィンター、体調不良によりツアー公演を欠席…帰国後に休養へ
-
ビキニで登場の鈴木ふみ奈、新作カレンダーのお気に入りは「お尻がきれいに見える」カット
-
あいみょん、SNS拡散のフェイク画像に苦言!「きもすぎ まあほとんど実際とデカさ変わらんけどな」
-
鈴木ふみ奈、ベッドの上で“極上”グラマラスボディ解放!
-
XG・COCONA、トランスマスキュリン・ノンバイナリーであると公表!世界中から熱い支持


