未来のMacBookはキーボードの打鍵感が自在に変更可能?Appleが新特許を出願
IT・デジタル
スマートフォン
-
【動画解説】PDF編集ならAdobe Acrobatの代替ソフト「PDFelement」
-
2018年登場の新型MacBookに、E Ink採用キーボードが搭載?注目企業は噂を否定
-
Apple、27日のスペシャルイベントで新型Macを発表か
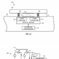
米国特許商標庁が現地時間20日に公開した内容を参照すると、Appleが未来のMacBookのキーボードに対し、新しい試みをしようとしていることがわかる。新特許のイメージは、使用するアプリケーションやプログラムなどによって、打鍵感が変わるというもの。例えば、文字タイプを行う際と、ゲームアプリケーションをプレイする場合では、打鍵感を変えることができるようになる。これは、キー押圧の閾値を変更することによって実現され、使用可能性が低いキーは閾値を下げるといったことも可能。肝心の打鍵感は、触覚フィードバックを用いて提供される。
おそらく好みの打鍵感というのは人それぞれに異なる。主張のある、硬めのキーボードが好きだというユーザーもいれば、浅めのそれが好みだというユーザーもいるだろう。12インチMacBookが登場した際に、一部から戸惑いの声が聞かれたことからも、明らかだろう。Appleが今回出願した特許は、そうしたユーザーの声を反映しているように思える。
関連ニュース
-
2018年登場の新型MacBookに、E Ink採用キーボードが搭載?注目企業は噂を否定
-
Apple、27日のスペシャルイベントで新型Macを発表か
-
実現化に超期待! Apple、E Ink採用でキーの配置変更が自由自在なキーボードを開発か
-
Apple、iPhone 8でホームボタン撤廃? ディスプレイ上から指紋を読み取る特許を取得
-
極薄&軽量&LTE版あり! レノボ、ハイブリッドな2-in-1「YOGA BOOK」を国内展開へ…39,800円から
-
いよいよ8日深夜2時開始! Appleスペシャルイベント、今年は一体何が出る?
-
ついにイヤホンジャック廃止? 新型iPhoneの噂におびえる業界、そのワケとは
-
直営店の名称を「Apple Store」から「Apple」に変更!その意図とは?
-
Apple、Apple TVリモコンアプリ「Apple TV Remote」をリリース!
-
MacBook Airを意識?Xiaomi、薄型ノートPC「Mi Notebook Air」発表……12.5インチで約54,000円




